The Mozilla
Organization
Our Mission
Who We Are
Getting Involved
Community
Editorials
What's New
Development
Roadmap
Module Owners
Blue Sky
Projects
Status
Tools
Products
Source Code
Binaries
Documentation
License Terms
Bug Reports
Search
Feedback



Architecture

Author: Kevin McCluskey, Rod Spears
Updated: 10/23/98

 
Table of Contents
Overview
What is XPFE?
 

XPFE  is Cross-Platform Front End. This simply means that the graphical user interface for the Netscape suite of tools will be written once on top of cross-platform set of libraries. One benefit of this approach is to isolate the native platform differences into a single location (the widget toolkit) and provide a common set of services for supporting both HTML form widgets and the Front-End graphical user interface. XPFE is an enabling technology for building web based applications on top of the NGLayout technology. 

NGLayout is a cross platform layout engine that was designed to be fast and small. All of the platform specific code is isolated into two libraries:

  • GFX - the graphics and rendering libraries. (Click here for more detail)
  • Widget - the cross platform widget toolkit. This is a set of interfaces for creating and manipulating native widgets. Currently there are ports to MS-Windows, X-Windows, and Macintosh. (Click here for more detail)

Figure #1 - NGLayout

Today most apps are written using an application framework such as MFC on Windows, or PowerPlant on the MAC. Since XPFE is cross-platform it must provide its own framework for building applications. XPFE relies on NGLAYOUT to provide the core of this cross-platform framework. XPFE adds additional widgets and layout behavior.

XPFE is a set of libraries and services that will enable the developer to create complete cross platform applications. XPFE is a layered on top of the GFX and Widget libraries and takes advantage many different parts of NGLayout for the creation and layout of GUI components.

The visual representation of the GUI is described in a cross platform resource file. The syntax for the resource file is a standard tag based mark up language (XML). Applications that are written with XPFE can have their GUI dynamically loaded at run-time. This enables the application to "expose" varying degrees of functionality depending on the GUI resource file that is loaded. This approach also provides a great deal of flexibility for internationalization and localization. 

Once the application is up and running, the GUI can be augmented with additional widgets/controls (i.e. additional toolbars or toolbar buttons) from an external source, such as visiting a web site. 

 

Brief History of GUI Development
When GUI applications were first developed many developers intertwined the core application code with the GUI code. This is often done because the developer gets confused on the difference between the "state" of the GUI and the "state" of the application (see figure #2)
 
 


Figure #2 - Original GUI applications

These types of applications were quickly discarded or re-written so the GUI code was separate from the application code. The visual representation of the GUI was either hard coded or defined in a resource file (see figure #3). This made the applications much easier to maintain and add new features.


Figure #3 - Separation of GUI Code from Application

A problem still exists that GUI developers are still tempted to mix application and GUI code because the interface between the the application and GUI is not always well defined.

XPFE Requirements
XPFE has two main requirements:
  • XPFE must be cross-platform (at least MS-Windows, XWindows, and Mac)
  • XPFE must support a downloadable UI, where some or all of the UI can be downloaded.
Requirement #1 - Cross Platform
The challenge of creating a cross-platform GUI is:
  • Create a full-fledged, UI rich application using cross-platform widgets
  • The availablility of a common set of GUI widgets. The UI either ends up with the "Least Common Denominator" set of widgets or the widget set on any given native platform is augmented to match the other toolkits.
  • Defining a common resource format for externally describing the static user interface. A resource file provides a flexible approach because the UI can be changed without having to re-compile the application.
  • The existence of a file reader for the external resource format and the conversion of that data into an internal data structure that represents the widget hierarchy.
  • A cross-platform layout manager.
Existing Raptor technology provides a solution for each of the cross-platform requirements:
  • The widget toolkit provides a common set of widgets. Missing widgets on a particular platform (that are available on other native platforms) can be be written natively or written in a cross-platform manner using GFX.
  • HTML, XML, or any ML can be used to describe the the static layout of the GUI.
  • Raptor provides an HTML and XML parser and Content Sink. There are DOM APIs into the Content to enable the the getting and setting of widget properties.
  • Raptor provides a layout engine for laying out the widgets using HTML.
Requirement #2 - Downloadable Chrome
The challenge of providing downable chrome is:
  • Some or all of the chrome needs to be downloaded
    • Is the chrome description completely declaritive or can it be created through a scritping language?
    • Can the behavior that is associtaed with the chrome be downloaded and "installed"?
    • How can local chrome and NetCenter chrome be merged?
  • Complete separation of GUI static description, GUI "glue" code and the "core" application
  • Chrome must support CSS
Existing Raptor technology provides a solution for the downloadable chrome issues:
  • A combination of XML and HTML can be used to describe the entire UI. For example the all menus, toolbars, dialogs, etc.
  • XML/HTML provides a completely declarative description of the chrome and Java Script can be used for dynamic creation of chrome.
  • In an extreme case the entire application behavior can be written in JavaScript and downloaded as part of the chrome.
  • Local and non-local chrome can be parsed and fed into RDF for UI merging.
  • Both XPCOM and JavaScript interfaces provide a great deal of flexibility in separating the GUI definition, the GUI "glue" code, and the main application components.
XPFE Architecture Overview
XPFE can be used as the foundation for building many different types of applications. It enforce a clean separation between the application code and the GUI code. Many, if not all, of NGLayout's components exist as simple interfaces. Interfaces by their nature enforce this clean separation because the implementation is hidden. XPFE is ideal for creating web based application with the UI expressed in terms of some markup language.

XPFE is made up of several different components. These components taken as a whole make up the "core" XPFE functionality. Then, any number of GUIs can be built on top of the core. The core XPFE components are as follows:

  • A markup definition for describing the visual representation of the GUI
  • An API for creation of HTML/XML based Windows and Dialogs
  • A layout manager for laying out Windows and dialogs. NGLayout will be used for most windows and dialogs, although special layout managers may exists for handling special cases (i.e. the application window)
  • Interfaces for manipulating the GUI components
  • Extensions to the Widget toolkit. Implementation of non-HTML based forms widgets like: toolbars, menus, status bar, url bar, etc.)
Applications written on top of the core XPFE functionality provide the following functionality:
  • The resource definition (HTML/XML) describing the visual representation of the UI
  • The event callback code for the GUI
  • The core application components that are being manipulated through the GUI. 
Figure #4 shows a very high level diagram of this paradigm. The application reads in the HTML/XML at startup, as the mark up is parsed, a new UI document is created containing a GUI content model. The UI document is then used to create an NGLayout WebShell that creates the UI components and lays them out. The layout process can be NGLayout's HTML-based layout or other layout managers may be installed to produce the desired layout.
 
 


Figure #4 - XPFE

A more specific use of XPFE is shown below in Figure #5 where the Application Core may be the WebWidget, the Application Services is RDF containing the bookmarks. The GUI developer creates the necessary HTML/XML for describing a browser UI and then writes the callback "glue" code for hooking up the UI to the WebWidget.


Figure #5 - XPFE Application

 
XPFE Architecture
Introduction

XPFE includes both core technology and a structure for applications. The XPFE architecture allows the application's user-interface can be written in a combination of C++ and JavaScript. Parts of the core application or it's user-interface can be progressively exposed as JavaScript routines. The core technology within XPFE includes existing widgets, new widgets and integration within NGLAYOUT for reading and displaying documents describing user interface for windows and dialogs.

The following description of a specific implementation will walk you through the architecture and provide a general idea of how it works. Each of the components in the diagram are describe in detail below.

Assume that there is a browser application built from XPFE, the application flow would be as follows:

  • A new class is dervied from "AppShell" that contains the App UI. 
  • The browser App UI is created and it contains a dispatch object is for servicing all the GUI events
  • The App UI gets an instance of XUI Manager and asks it to load the initial XUI document, this returns a XUI Main Window
    • The XUI document is parsed by the NGLayout parser with the XUI-DTD and the XUI Content model is created
    • When the Main Window is shown the XUI manager talks to the XUI Content model (frame model) and all the UI elements defined in the XUI document are layed out
  • The App Shell registers it's dispatch object as a listener of the XUI Main Window
  • All events are relayed to the dispatch object within the App Shell
  • The dispatch object calls methods on the App UI, the App UI then makes additional calls on the App Core and App services for performing work

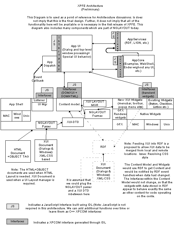
Figure #6 - The XPFE Architecture
XPFE Architecture Diagram
(Preliminary 10-22-98)













Design philosophy

The core design is based on a separation of the application user-interface and the application core. In addition, dispatch code should be separated from the application's user-interface.

App UI

The application user-interface contains code to display dialogs and top-level windows. It also contains all of the code to process any events comming from the dialogs or windows.

App Dispatch

The code to dispatch events to the Application's user interface is placed in a separate module so that application dispatch can come from different sources including JavaScript.

App Core

The application core provides an API that can be called from the Application User-Interface. The core should not contain code to create or manage MenuBars or Dialogs. In addition, it should not contain code to process top-level windows and dialogs. This code should be placed in the App UI instead. An example of an App Core is the WebWidget.

All of the code for performing direct manipulation  should be placed in the AppCore. An example of this is the WebWidget. The code to process clicks on links and scrolling of the WebWidget should reside in the AppCore. In the case of the "ender widget" all of the code to process selection should be placed in the AppCore. Ifthe App UI needs information from the AppCore such as "is there a current selection" so that it can disable or enable a toobar button, this information should be provided to the App UI either through method calls or event listeners. In addition to direct manipulation, drag and drop processing should be included in the App Core as well.  For many applications it should be possible to embedd the App Core in a page by specifying an object tag which has a reference to the AppCore. If the AppCore needs additional UI then it can be accomplished in two ways. The App Core can  expose JavaScript functions which allow a  XUI/HTML with JavaScript event handlers make calls into the AppCore. This allows the external interface ("i.e. non direct manipulation) to be controlled by the page designer. An alternative is to have the object tag refer to a combination of App UI and AppCore. The AppUI in this case would not contain the full user-interface that a stand-alone application would provide. This corresponds to what the "ender" widget does today.

App Services

The application services include HT/RDF, I10N, and other modules which will be used across applications.

UI Mgr

The User Interface Manager is responsible for creating dialogs and top level windows. It also is reponsible for attaching an event listener to the dialog or window.

Listener

The listener interface is used to dispatch events generated by windows and dialog boxes. The events dispatched include high-level CLICK as well as low level MOUSE_DOWN and MOUSE_UP events.

AppShell

The Application shell contains the startup code for each native platform. It also contains the message pump. The Application UI is a sub-class of the application shell.

XUI Document

The XUI Document is a XML-based grammer for describing the layout of top-level windows and dialogs. It contains tags for specifying menubars, toolbars, statusbars, and tree controls.

XUI Layout manager

The layout of the XUI elements is done using a XUI layout manager. It is anticpated that the HTML Layout manager will not be sufficient to layout menubars,toolbars, statusbars, and tree controls properly. Rather than trying to add new behavior to the HTML Layout manager a new XUI Layout Manager mantains the layout of XUI Content.

HTML + OBJECT Tag

In some cases it is desirable to have the new widgets layed out by the HTML layout manager (Raptor). If this is the case, then the widget will be specifyable through the OBJECT tag syntax in HTML. Tree widgets are an example of a widget which you may want to layout both within a HTML Table within a dialog or within the Top-level XUI described window. It is expected that you should be able to insert a tree widget either within XUI or using the OBJECT tag within HTML. We may decide to allow a XUI document to be referenced through the OBJECT tag to so that a HTML document could take advantage of the XUI Layout manager within a region of the HTML dialog or window.

CSS

Stylistic information for XUI/HTML documents is stored in CSS rules. Each of the XUI elements includes a classid and id attribute so that it can be bound to style information provided by CSS. The id attached to XUI elements within the XUI Document will also be used for event dispatch to identify the widget.

Content Model

As the XUI Document is parsed XUI specific content is created. The Content that is created implements the nsIHTMLContent interface so that XUI Content can live in both the HTML Content area of the special XUI Content area.

DOMXUI + DOMHTML interfaces

The XUI Content is accessible through nsIDOMXUI Interfaces. These interfaces are defined through IDL and compatible with the nsIDOMHTML Interfaces defined for standard HTML elements. These interfaces provide programatic access to the widgets from C++ and later JavaScript. The bulk of the App UI Code will involve calls to these interfaces. Since the nsIDOMXUI Interfaces are similar to the nsIDOMHTML interfaces it should make it easy for programmers to migrate UI code that was written in C++ to JavaScript.

CSS Style interfaces

In addition to having access to the DOMXUI and DOMHTML interfaces, Application UI developers will also have access to a CSS Style DOM. This DOM contains API's for changing the style of the UI elements. This includes there colors and icons, etc.

JavaScript (Security)

When JavaScript is introduced there are security concerns. A site containing JavaScript could change your menu's so that your application no longer functioned properely or worked at all. If all of the UI elements are exposed to JavaScript there are  an even more places that an errant JavaScript program could cause problems. In addition, the application core and application ui can expose methods to JavaScript which may give them indirect access to the filesystem and other OS services. One solution is limit the number of functions that are accessible through JavaScript.  A more general solution is to differentiate between the JavaScript that exists in a page that is downloaded and the JavaScript that is referenced from the Page. The JavaScript within the page would not have access to any UI elements, App Core, or App UI functions. The JavaScript referenced from this page would be signed JavaScript and would have access to the UI elements, App Core, and App UI functions.

Downloadable Chrome

There are four different approarches to downloading the chrome using XPFE. They can be used separately or in combination. It is expected final and most general form of downloadable chrome will not be available in the first release of XPFE.

Complete UI Replacement

It is expected that you should be able to download XUI + HTML files which replace the entire user-interface, but not change the fundamental architecture of user-interface. For example, you may substitute a "Kid Friendly" user interface for the browser which contains different a different set of icons on the toolbar and changes each dialog box to be more kid oriented. In this scenario you can only replace the existing XUI+HTML files with new files that contain a subset of the widgets in the original UI. This can be achieved without adding an JavaScript. The application ui would be responsible for initiating the download of the replacement files.


Replacement of Some UI Elements

The replacement of a single UI element such as a toolbar can be accomplished just like the Complete UI Replacement. The application UI would be responsible for initiating the download of a toolbar or other UI element. The original XUI/HTML files describing the element would probably have a reference to a another XUI/HTML file that contained the replacement UI component.


Merging of Local and Remote UI Elements

Some UI's components such as toolbars may actually be defined by combining a remote definition of toolbar created by NetCenter and a local defintion of a toolbar. In this case, the local and remote toolbar definitions will be read in to a RDF data store. RDF provides the ability to merging the local and remote toolbar definitions. The toolbar would get it's contents from a datasource which understands how to get and set data in the RDF datastore. This capability could be used by NetCenter or other web-sites to dynamically add new toolbars or menu items to the user interface. One the UI elements are merged they will be kept a local data store by saving the RDF datastore to disk.


JavaScript Controlled Merging

JavaScript provides the ultimate control for merging, replacing, and removing UI elements. If we assume that we have exposed the full api's to the UI Manager, Application UI, and provided JavaScript DOMXUI interfaces. Since JavaScript would have access to the entire User interface it could dynamically create  and insert new UI elements or remove UI elements. This full control would only be available to signed JavaScript however.  In order to cleanup the UI elements created by the JavaScript code, the content developer will need to have an OnUnload JavaScript event handler registered which selectively removes any of the UI elements it added.


Event Model

The event model used in XPFE is the NGLAYOUT event model.  Within NGLAYOUT events are managed and dispatched through view and frame systems.  For the App UI engineer this results in be able to insert a listener on either the window or dialog or listen to an individual widget.

Localization (I10N)

Localization within a XUI/HTML document is done primarly through resource URL's which contain a key used to retrieve the actual string for widget labels.

New Widgets

Creating a professional user-interface requires very a specific set of widgets. The existing set of widgets's within NGLAYOUT are adequete for defining HTML form elements, but are not sufficient for doing a browser or editor interface. The set of widget's within NGLAYOUT will be extended to include:

  • Menubars
  • Tree Widgets
  • Status Bars
  • Progress Bars
  • Collapso/Expando
  • Tri-state checkbox
  • Tab control
  • Drop down button
  • Color picker
  • File Picker
  • Calendar Widget
  • "Grippy pane"
  • Location bar


This new widgets will either be implemented natively on each platform or they will be completely cross-platform (i.e. rendered by the GFX library).

DataSource Widgets

Some widgets tend have a large amount of "state" data that must be maintained. If there are multiple sources for the data, keeping the data in sync becomes an issue. To solve this problem, some of the new widgets will get their data from a "data source". This is basically the Model/View/Controller paradigm for widgets. With this approach only one copy to widget's data needs to be maintained. Tree widgets and toolbars are candidates for this approach. 

RDF

RDF will be used primary as a service for getting and merging local and remote data. It may also be used to store the data used by the XUI Content. In this case there would still be content added to the standard content model, but the content would retrieve and set data in the  RDF data source. Since the XUI file contains CSS, the CSS style rules would also have to be converted to RDF data. This is desirable because RDF has capabilities for merging data. This merging capability could be used to merge a local and remote definition of a toolbar, menu, or other ui elements. Merging of CSS rules requires more investigation.

Modal Dialogs

  • The UIManager does not return from the call to Modal dialogs until the event listener attached to the dialog executes a the dialogs close method.
  • The interface to the widget that caused the termination of the modal dialog is returned by the ShowModalDialog method.
  • This widget interface can be used to determine if the "OK", "Cancel" button or some other widget terminated the interaction.
  • Each of the XUI/HTML widgets can be assessed through a nsDOM XUI or nsDOMHTML or interface. This interface can be used to set and retrieve widget settings.


Modeless Dialogs and TopLevelWindows

Modeless dialog behave in a similar manner to modal dialogs. The event listener registered for the modeless dialog receives widget events. The event listener contains code which has access to he widgets within the dialog using the nsIDOMXUI and nsDOMIHTML interfaces.

Adding and Removing XUI/HTML widgets

All manipulation of the HTML widgets is done through a C++ interface DOMHTML interface. The XUI widgets are modified through a C++ DOMXUI interface.

IDL

Interface definition language provides a language neutral way of describing user-interfaces. NGLAYOUT includes a IDL compiler which can be used to generate both XPCOM interfaces callable from C++ and glue code to make the interface callable for JavaScript. The interfaces with XPFE should use IDL to allow the interfaces to be accessable from both languages.

Testing

Since XPFE-based applications separate the UI from the Application it should be possible to provide automatic testing suites which exercise the application core and applcation UI independently. If the Application UI and App Core provide JavaScript interfaces, a test harness may be written in JavaScript rather tan C++. A JavaScript test harness could be downloaded from a site which would simply the testing process.

Design Advantages

Since the design leverages NGLAYOUT for most everything the executable size should remain very small.

Access to the widgets for the C++ programmer and JavaScript programmer are very similar. They both go through the DOM. This will make it easier to convert C++ code into JavaScript Code.

The separation of the Application UI from the Application Core should make it easier to produce "ender like" and "web-widget"  page-embeddable applications.

Since most of the API's will be exposed through IDL, it should be straightforward to expose the interfaces to JavaScript.

Even though we initially store XUI and HTML elements in different content model locations, it should be possible to move the new XUI elements directly in the HTML tree at a later date in a straight forward manner. Since from the beginning they use implement the nsIHTMLContent interface. In addition we may need to insert some widgets into both the XUI and HTML content models. A tree widget is an example of this. Sometimes we want the tree control to be layout out in a dialog using an HTML table layout. Other times we want the tree to be layout out on the top-level window as a pane using the XUI LayoutManager (similar to Aurora chrome).

Design Disadvantages

Since the design leverages NGLAYOUT for most everything, working on XPFE requires a deep understanding of NGLAYOUT.

XPFE does not use a typical application framework for managing UI, instead it uses NGLAYOUT framework. Engineers familiar with standard application frameworks such as MFC or PowerPlant will have to learn this new framework.
 
 


nsUIManager

Provides an interface for creating and displaying windows and dialogs.
There is one UI Manager per application. This does not mean per executable, since there may be more than one application within a single executable ala Netscape Communicator suite.  The justificiation for this that we want to be able to determine the set of windows opened by a particular application.

class nsIUIManager : public nsISupports
{
  // nsISupports
  NS_DECL_ISUPPORTS

  // nsIUIManager

  // Methods to open a various types of windows.

  // The modal dialog is brought down when the close method is called
  // from within the eventListener code below. The terminating widget
  // is returned from as well. This method implies that the modal dialog is
  // actually a full webshell that does a LoadURL to get the document. It may
  // Have to instal the XUI DTD and ContentSink before proceedding.

  NS_IMETHOD OpenModalDialog(nsIWidget* aContainerWidget, nsURL aUrl,
                  nsIUIWindow &*aWindow, nsIEventListener, nsIDOMHTMLElement &*terminatingWidget);

  // aContainerWidget : This is typically the widget associated with a top
  // level window.
  NS_IMETHOD OpenModelessDialog(nsIWidget* aContainerWidget, nsURL aUrl,
                  nsIUIWindow &*aWindow);

  NS_IMETHOD OpenTopLevelWindow(nsIWidget* aContainerWidget, nsURL aUrl,
                  nsIUIWindow &*aWindow);

}

nsUIWindow

Subclass of a Browser window which works with both XUI and HTML.
Note: nsIBrowserWindow contains unwanted extra capabilities that nsIUIWindow
may not want to support. We may want to factor nsIBrowserWindow functionality such
as the UI controls for manipulating toolbars, etc. to a new nsINavigatorWindow class.

class nsUIWindow : public nsIUIWindow, nsIBrowserWindow
{
   // Return the nsIWidget that the UIWindow uses for rendering.
   // This widge can be used to bring up widgets which are not encoded
   // with XUI and are not placed in the content model.
   // The FileSelector widget is a good example. When this
   // Widget is brought up it needs a parent widet in which to display.
   NS_IMETHOD GetWidget(nsIWidget &*aWidget);

   // METHODS For retrieving the content from the window. These methods are used after
   // a modal dialog has been displayed and the app needs to see the current
   // settings. They are also used by modeless and top-level windows to retrieve settings
   // in response to user generated events.

   // - RATHER Than providing direct manipulating of the widget's attributes. All manipulation is
   // Done through a content model. This allows the HTML content and XUI content to manipulated in a uniform manner.

   // Search the content model for a piece of content with the id specified. This
   // id matches the id attribute in the XUI file. It also matches the HTML attribute id.
   // A nsIDOM interface to the content is returned. This allows a uniform mechanism for
   // Manipulating the data.
   // Note this method will search both the XUI content model and the HTML content model for aId.
   // It will return with the first Id it finds. Id's should be unique since there is not
   // a mechanism for getting a duplicate id (you will always get the first.)
   NS_IMETHOD GetContent(nsString aId, nsIDOMHTMLElement &*aContent);
 

   // Sets up an event listener for any NS_EVENT. The listener will get the event after
   // There are two types events that will be typically listened for.
   // NS_MENU selection events if a menu is precent. NS_UP events.
   // The widget which generated the event is stored in the event structure. It may
   //
   NS_IMETHOD SetListener(nsIEventListener &aListener);

}

// LOOK At the existing listener interface within NGLAYOUT. This is probably all we need. Don't need another listener interface.

class nsIEventListener {

  // This method gets called when the an event is generated by a widget.
  // Note event pased through is a high-level synthesized event such
  // as NS_CLICK instead of NS_MOUSE_DOWN, NS_MOUSE_UP.

  // In the case of MENU events, or Button clicks on toolbars.
  // This method should be overriden to call a Application Core method
  // ASAP. Ideally there should be no process inside. This allows the
  // Dispatching code to be isolated from the Application Core. Later
  // The Application Core may receive calls to its methods from a different
  // dispatch mechanism such as JavaScript.

  // TBD, How to plug into NGLAYOUTS frame system to get
  // the higher level event notification.

   NS_IMETHOD Event(nsEvent &aEvent);

  // Retreives the an interface to the content which initiated the event.
  // XXX: To be determined, How to plug into NGLAYOUTS frame system to get
  // the higher level event notification.

   NS_IMETHOD GetContent(nsEvent &aEvent, nsIDOMHTMLElement &*Event);

}
 

//XXX: FILL IN, Look at how content is added through the existing HTML
// DOM Intefaces.
 

// Apps subclass this to initialize their application.
// The default behavior is to load a single document which can come
// from the command line. If no document is specified "interface.xui" is loaded from
// the current directory.

class nsAppShell
{
    // Initialize the starting window for the application.
    // This method is typically overridden so the application can
    // Load the initial window XUI file and to add new menu items and
    // toolbar items based on preferences.
  virtual void initialize();
}
 
 

// Native shells

class nsMacShell
{

}

class nsWindowsShell {

}

class nsMotifShell {

}
 

class XUILayout {

}

// Here are the NSIDom Interfaces for the new widgets.
// Note that they are derived form nsDOMHTMLElement so they will have a GetId
// and SetId method that will be used to identify the element within a dialog box
// or top-level window.

// These are the only thing that the UI code should talk to
// XXX:Talk with Vidur about how approprate it is to call these things DOM since
// they are not part of the DOM spec.

// These classes are generated from idl's.

// XXX: In the prototype there is a XUI ToolbarManager.
// Layout for the toolbars could be done by a XUI Layout manager and other
// code for showing toolbars in their collapsed state moved to the toolbar itself.
class nsIDOMXUIToolbarManager : public nsIDOMHTMLElement
{
   NS_IMETHOD GetElements(nsIDOMHTMLCollection** aElements) = 0;
   NS_IMETHOD CollapseToolbar(nsIToolbar * aToolbar);
   NS_IMETHOD ExpandToolbar(nsIToolbar * aToolbar);
   NS_IMETHOD AddToolbarListener(nsIToolbarManagerListener * aListener);
   NS_IMETHOD Resize(PRUint32 aWidth, PRUint32 aHeight, PRBool aRepaint);
   NS_IMETHOD Resize(PRUint32 aX,  PRUint32 aY, PRUint32 aWidth, PRUint32 aHeight, PRBool   aRepaint);
   NS_IMETHOD SetCollapseTabURLs(const nsString& aUpURL,
                          const nsString& aPressedURL,
                          const nsString& aDisabledURL,
                          const nsString& aRollOverURL);

   NS_IMETHOD SetExpandTabURLs(const nsString& aUpURL,
                               const nsString& aPressedURL,
                               const nsString& aDisabledURL,
                               const nsString& aRollOverURL);
}
 

// Initially only the nsIDOMXUI widgets nsIDOMImageButton nad nsIDOMXUILocationBar and nsIDOMXUIThrobber
// Can be added to a toolbar. Later any nsIDOMHTML element could be added.
// The issue with doing this at this time is that it implies that there are HTML form elements hanging
// directly off the toolbar element in the XUI content tree. It also implies that the XUI definition file is
// capable of expressing any HTML element. The general approach probably is to do the same as thing as the HTML 4.0
// button object here.

class nsIDOMXUIToolbar : public nsIDOMHTMLElement
{
    NS_IMETHOD GetElements(nsIDOMHTMLCollection** aElements) = 0;

    // XXX: These should be expressed through the CSS style instead. With a combination
    // of states and psedudo classes in the style systems make this work.
    NS_IMETHOD SetHorizontalLayout(PRBool aDoHorizontalLayout);
    NS_IMETHOD SetHGap(PRInt32 aGap);
    NS_IMETHOD SetVGap(PRInt32 aGap);
    NS_IMETHOD SetMargin(PRInt32 aMargin);
    NS_IMETHOD SetLastItemIsRightJustified(const PRBool & aState);
    NS_IMETHOD SetNextLastItemIsStretchy(const PRBool & aState);
    NS_IMETHOD SetDrawFullBorder(PRBool aDoDrawFullBorder);
    NS_IMETHOD SetPreferredSize(PRInt32 aWidth, PRInt32 aHeight);
    NS_IMETHOD GetPreferredSize(PRInt32& aWidth, PRInt32& aHeight);
    NS_IMETHOD SetWrapping(PRBool aDoWrap);
    NS_IMETHOD GetWrapping(PRBool & aDoWrap);
    NS_IMETHOD GetPreferredConstrainedSize(PRInt32& aSuggestedWidth, PRInt32& aSuggestedHeight,PRInt32& aWidth,PRInt32& aHeight);

}

class nsIDOMXUIImageButton : public nsIDOMHTMLElement
{

  NS_IMETHOD  SetBounds(const nsRect& aBounds);
  NS_IMETHOD  GetLabel(nsString&);
  NS_IMETHOD  SetLabel(const nsString& aString);

  // XXX: These should be expressed through the CSS style instead. With a combination
  // of states and psedudo classes in the style systems make this work.
  NS_IMETHOD  GetHighlightColor(nscolor &aColor);
  NS_IMETHOD  SetHighlightColor(const nscolor &aColor);
  NS_IMETHOD  GetShadowColor(nscolor &aColor);
  NS_IMETHOD  SetShadowColor(const nscolor &aColor);
  NS_IMETHOD  SetImageURLs(const nsString& aUpURL,
                           const nsString& aPressedURL,
                           const nsString& aDisabledURL,
                           const nsString& aRollOverURL);
  NS_IMETHOD  GetRollOverDesc(nsString& aString);
  NS_IMETHOD  SetRollOverDesc(const nsString& aString);
  NS_IMETHOD  SetShowBorder(PRBool aState);
  NS_IMETHOD  SetShowButtonBorder(PRBool aState);
  NS_IMETHOD  SetBorderWidth(PRInt32 aWidth);
  NS_IMETHOD  SetBorderOffset(PRInt32 aWidth);
  NS_IMETHOD  SetShowText(PRBool aState);
  NS_IMETHOD  SetShowImage(PRBool aState);
  NS_IMETHOD  SetAlwaysShowBorder(PRBool aState);
  NS_IMETHOD  SetImageDimensions(const PRInt32 & aWidth, const PRInt32 & aHeight);
  // Alignment Methods
  NS_IMETHOD  SetImageVerticalAlignment(nsButtonVerticalAligment aAlign);
  NS_IMETHOD  SetImageHorizontalAlignment(nsButtonHorizontalAligment aAlign);
  NS_IMETHOD  SetTextVerticalAlignment(nsButtonVerticalAligment aAlign);
  NS_IMETHOD  SetTextHorizontalAlignment(nsButtonHorizontalAligment aAlign);
  NS_IMETHOD  GetPreferredSize(PRInt32& aWidth, PRInt32& aHeight);
  NS_IMETHOD  SetPreferredSize(PRInt32 aWidth, PRInt32 aHeight);
  NS_IMETHOD  Enable(PRBool aState);
}

class nsIDOMXUIMenubar : public nsIDOMHTMLElement
{
  NS_IMETHOD GetElements(nsIDOMHTMLCollection** aElements) = 0;
}

class nsIDOMXUIMenu : public nsIDOMHTMLElement
{
  NS_IMETHOD GetElements(nsIDOMHTMLCollection** aElements) = 0;
  NS_IMETHOD SetLabel(nsString &aText) = 0;
  NS_IMETHOD GetLabel(nsString &aText) = 0;
}

class nsIDOMXUIMenuItem : public nsIDOMHTMLElement
{
  NS_IMETHOD SetLabel(nsString &aText) = 0;
  NS_IMETHOD GetLabel(nsString &aText) = 0;
}
 

class nsIDOMXUIPopupMenu : public nsIDOMHTMLElement
{
  NS_IMETHOD SetLabel(nsString &aText) = 0;
  NS_IMETHOD GetLabel(nsString &aText) = 0;
}
 

class nsIDOMXUITreeView : public nsIDOMHTMLElement
{
  NS_IMETHOD    GetElements(nsIDOMHTMLCollection** aElements) = 0;
}

class nsIDOMXUIListView : public nsIDOMHTMLElement
{
}

class nsIDOMXUIHtmlArea : public nsIDOMHTMLElement
{
}

class nsIDOMXUISplitter : public nsIDOMHTMLElement
{
}
 

XPFE Roadmap
The first release of XPFE will enable developers to create applications as described in the section above. All events generated from the GUI will be passed to the application specific code for processing. The GUI code will then have to determine what action to take based on what widget was clicked on or manipulated (See figure #7).


Figure #7 - Raw Dispatch of GUI Events

JavaScript and XPFE

The second revision of the XPFE will enable the use of JavaScript and JavaScript event handlers. The JavaScript event handlers by themselves have considerable utility by enabling a higher level event processing. When using JavaScript event handlers, methods within the C++ application specific code can be called directly from the GUI. The event handlers eliminate the need for "switching" off of button IDs.

To enable JS event handlers, the C++ application specific code must implement a JavaScript interface to expose any methods that will be servicing GUI events. These exposed methods can then be referred to directly by the GUI described in the HTML/XML. The callback code is still written in C++ but the low-level event dispatch is eliminated.

It may be desirable to code some or all of the application specific code in JavaScript. This would enable both the description of the visual representation and the application specific "glue" code to be dynamic and downloadable. To enable this, all components participating in the application must provide access from JavaScript; hat means that each higher level interface must be also be "wrapped" for use from JavaScript. Figure #8 shows how an application may use both C++ code and JavaScript code. 

Figure #8 - Mixing JavaScript and C++ Application Specific Code

For example, in a browser UI the "Back" and "Forward" buttons may be "wired" directly to the WebWidget's JavaScript event handlers. Then a "Add Bookmark" menu selection may call a JavaScript event handler in the application specific code for adding the bookmark directly though C++.

A more powerful example of how JavaScript could be used as "glue" code, is by having it directly augment the UI. For example, a user browsers a web page that contains JavaScript for the loading of the document. This piece of JavaScript uses the JS interface to XPFE to add a new button to a toolbar. When the document is unloaded a small piece of JavaScript will then remove an UI elements that it added.

Note: That when we allow emedded JavaScript to alter the UI for a given application it is important to realize this implies a GUI security manager that will grant or deney access to different parts of the UI.

Full JavaScript
Figure #9 shows how the entire application can be written in JavaScript.


Figure #9 - Full JavaScript

 


 
Dependencies
  • XML Parser
  • XML Content Sink
  • HT/RDF
  • I10N
  • Raptor Layout
  • JavaScript
  • GFX, NSPR, Widget
  • Windows95, NT - Win32 API (Note: it is not dependent on MFC)
  • Mac - MacOS
  • Unix or Linux - XLIB X11R5 and MOTIF 1.2.
  • Other OS's/windowing systems.

 



Copyright © 1998 The Mozilla Organization.